master_simasm.gif (8546 bytes)

Ο Αθλητικός Ναυτικός Όμιλος Γλυφάδας διοργανώνει από 18 έως 20 Ιουνίου 1999 το 2ο Ελληνικό Πρωτάθλημα ALPHA TRUST Master Laser με σκάφη τύπου Laser Οι αγώνες θα γίνουν στις εγκαταστάσεις του ΑΝΟΓ στην 3η μαρίνα Γλυφάδας και θα διεξαχθούν βάσει των Διεθνών Κανονισμών της ISAF 1997-2000 (RRS), των κανονισμών της κλάσεως, της παρούσης Προκήρυξης καθώς και των Οδηγιών Πλου.
Το πρωτάθλημα κατατάσσεται στην Κατηγορία C σύμφωνα με το παράρτημα G των RRS.

Δηλώσεις συμμετοχής το αργότερο μέχρι Παρασκευή 18 Ιουνίου 1999
Στο τηλέφωνο 8942115 ή στο fax. 9681647

ΠΡΟΓΡΑΜΜΑ ΑΓΩΝΩΝ

Παρασκευή 18 Ιουνίου 1999
                16:00 1η Ιστιοδρομία 20:00 - Barbecue

Σάββατο 19 Ιουνίου
                14:00 2η & 3η Ιστιοδρομία

Κυριακή 20 Ιουνίου
                14:00 4η & 5η Ιστιοδρομία

Απονομή Επάθλων & Barbecue

ΦΙΛΟΞΕΝΙΑ

 

Θα φιλοξενηθούν δωρεάν οι αθλητές που αγωνίστηκαν και στο πρώτο Ελληνικό πρωτάθλημα Master Laser,  και προέρχονταν από περιοχή εκτός αττικής. 

ΜΕΤΑΦΟΡΑ ΣΚΑΦΩΝ ΑΠΌ ΒΟΡΕΙΑ ΕΛΛΑΔΑ

Έαν ζητηθεί από τουλάχιστον 10 σκάφη της Βόρειας Ελλάδας, με την ειδική αίτηση που περιλαμβάνει ο φάκελος, θα μεταφερθούν τα σκάφη αυτά από τον ΝΟΘ με έξοδα του πρωταθλήματος.

ΕΝΟΙΚΙΑΣΗ ΣΚΑΦΩΝ

Έχει προβλεφθεί να υπάρχουν στον ΑΝΟΓ σκάφη προς ενοικίαση .

Για πληροφορίες στο τηλ. 8942115 ή στο 9680820

ΚΑΤΗΓΟΡΙΕΣ ΑΓΩΝΙΖΟΜΕΝΩΝ

από 30-34 ετών

από 35-44 ετών

από 45-54 ετών

από 55-64 ετών

από 65 ετών και πάνω

Για να δημιουργηθεί μία κατηγορία θα πρέπει σε μία τουλάχιστον ιστιοδρομία να αγωνιστούν 3 αθλητές.

ΕΠΑΘΛΑ

Στους τρεις πρώτους νικητές κάθε κατηγορίας θα απονεμηθούν αναμνηστικές πλακέτες με δίπλωμα.
Σε όλους τους συμμετέχοντες θα απονεμηθεί αναμνηστικό δίπλωμα
Θα υπάρξουν δώρα από τους χορηγούς για τους συμμετέχοντες.

ΧΡΟΝΙΚΟ ΟΡΙΟ ΤΕΡΜΑΤΙΣΜΟΥ ΤΕΛΕΥΤΑΙΟΥ ΣΚΑΦΟΥΣ

Σκάφος που τερματίζει αργότερα από 20 λεπτά από τον τερματισμό του πρώτου σκάφους της ιστιοδρομίας του θα θεωρείται ως μη τερμάτισαν (DNF).

ΧΡΟΝΙΚΟ ΟΡΙΟ ΥΠΟΒΟΛΗΣ ΕΝΣΤΑΣΕΩΝ

Το χρονικό όριο υποβολής ενστάσεων ορίζεται σε, μία ώρα μετά τον τερματισμό του τελευταίου σκάφους στην τελευταία ιστιοδρομία της ημέρας.

ΒΑΘΜΟΛΟΓΙΑ

Θα εφαρμοστεί το Σύστημα Χαμηλής Βαθμολογίας Παράρτημα Α των RRS. Για τον υπολογισμό και την έκδοση των αποτελεσμάτων θα αφαιρεθούν οι βαθμοί της χειρότερης θέσης του κάθε αθλητή εάν πραγματοποιηθούν πάνω από 3 ιστιοδρομίες.

ΠΟΙΝΕΣ

Για παραβάσεις του Μέρους 2 των κανονισμών της ISAF θα εφαρμόζεται η ποινή 720

ΑΛΛΑΓΕΣ ΣΤΙΣ ΟΔΗΓΙΕΣ ΠΛΟΥ & ΑΝΑΚΟΙΝΩΣΕΙΣ

Οποιαδήποτε αλλαγή στις Οδηγίες Πλου, ή άλλη ανακοίνωση, θα αναρτάται στον επίσημο πίνακα ανακοινώσεων πριν από τις 09:00 της ημέρας που θα τίθεται σε ισχύ εκτός από την αλλαγή στο πρόγραμμα των αγώνων που θα αναρτάται το αργότερο μέχρι της 19:00 της προηγούμενης ημέρας. Ο Επίσημος Πίνακας Ανακοινώσεων θα είναι στη Γραμματεία του ΑΝΟΓ. Τα σήματα στην στεριά θα αναρτώνται στον ιστό του ΑΝΟΓ.

Δικαίωμα συμμετοχής Δρχ. 10.000 δρχ.

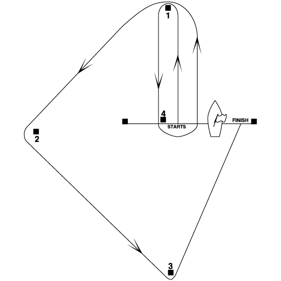
ΔΙΑΔΡΟΜΗ-ΣΕΙΡΑ ΕΚΚΙΝΗΣΕΩΝ

Διαδρομή: START 1 – 4 – 1 – 2 – 3 – FINISH

Η κάθε ιστιοδρομία θα έχει διάρκεια 40 λεπτά.

Σημεία στροφής αριστερά

Οι εκκινήσεις θα δίδονται σύμφωνα με τον κανόνα 26.

Σύστημα 1 των RRS.Τα σημεία στροφής θα είναι φουσκωτές κυλινδρικές σημαδούρες.

Ο τερματισμός θα είναι μεταξύ σκάφους της Επιτροπής Αγώνων που θα φέρει μπλε σημαία και σημαδούρας με κοντάρι και κόκκινη σημαία, από την δεξιά πλευρά του.

ΔΙΑΔΡΟΜΗ

 

 

 

 

ΥΠΟΣΤΗΡΙΚΤΕΣ

SONICARE ( ΗΛΕΚΤΡΙΚΕΣ ΟΔΟΝΤΟΒΟΥΡΤΣΕΣ ) ΛΕΩΝ. ΜΑΓΚΡΙΩΤΗΣ ΕΒΕΠΕ

SPERRY – TOP SIDER ( ΠΑΠΟΥΤΣΙΑ ΙΣΤΙΟΠΛΟΪΑ ) ΑΤΑΛΑΝΤΗ ΑΒΕΕ

ΚΙΝΗΜΑΤΟΓΡΑΦΟΣ ΧΛΟΗ - ΚΗΦΙΣΙΑ

 

ΟΡΓΑΝΩΣΗ

Τηλ 9680820 fax. 9681647 e-mail info@paralos.gr